- Oprawka do tulejek zaciskowych, typ ER, DIN 69871, kształt AD/B, SK 40, jakość wyważenia G2.5 22000 min-1
Oprawka do tulejek zaciskowych, typ ER, DIN 69871, kształt AD/B, SK 40, jakość wyważenia G2.5 22000 min-1
Wykonanie: ze stopowej stali do nawęglania, wytrzymałość rdzenia na rozciąganie ok. 950 N/mm², minimalna głębokość hartowania 0,5 mm. Stożek wg DIN 254. Wszystkie powierzchnie funkcyjne po obróbce wykańczającej, gwarantowana jakość dzięki podwójnej, 100-procentowej kontroli.
Tolerancja kąta stożka: AT3
Chropowatość powierzchni stożka: Ra < 0,001 mm
Twardość po hartowaniu: 60 –2 HRC
Zastosowanie: do mocowania narzędzi z chwytem cylindrycznym w tulejach zaciskowych według ISO 15488 (wcześniej DIN 6499).
Zakres dostawy: oprawka do tulejek zaciskowych w komplecie z nakrętką mocującą (wyważona, z powłoką ślizgową dla zwiększenia siły mocowania).
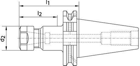
Uwaga: wymiar I2 pokazuje maksymalną głębokość osadzenia narzędzi.



















